Los documentos de esta patente nos dan una idea de por dónde podrían colocar la mira en materia de diseño mecánico, dentro del seno de la firma europea. Pero no sólo eso, pues también ratifica la implementación de los compresores, de diverso tipo, dentro de la industria de las dos ruedas. De llegar a la producción se uniría a las dos marcas japonesas que actualmente están más centradas en el desarrollo de esta tecnología en sus motores de combustión interna: Kawasaki y Honda.

La primera lleva más de una década utilizando un compresor mecánico en su Ninja H2. Por su parte, Honda presentó, en la pasada edición de EICMA, su nuevo propulsor V3 de cuatro tiempos y 75°, equipado con el primer compresor eléctrico del mundo para motocicletas, que puede controlar la compresión del aire de admisión, independientemente de las revoluciones del motor, lo que significa que se puede entregar un torque de alta respuesta, incluso a bajas revoluciones.

KTM dio a conocer las fechas de producción de sus motos de mayor capacidad
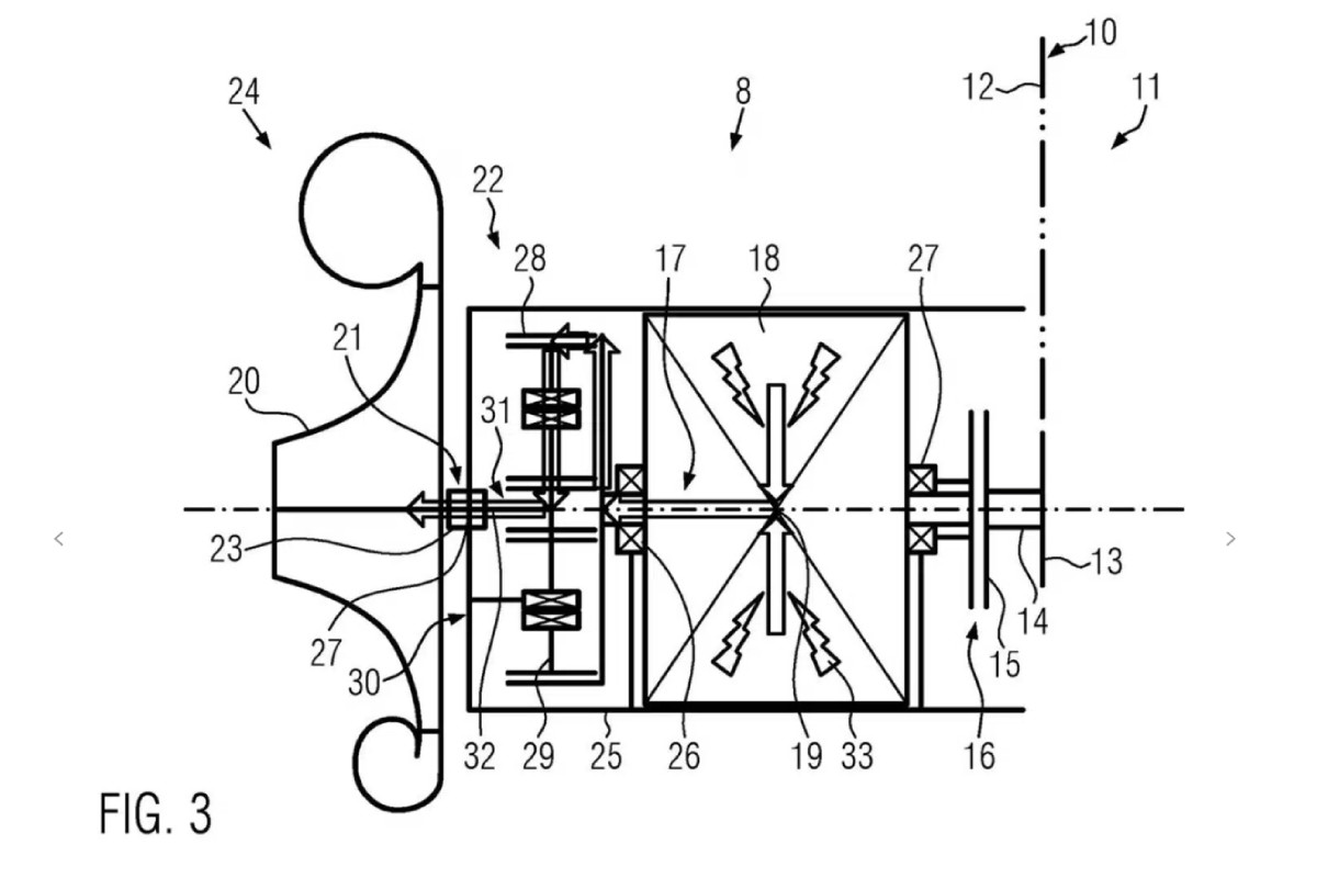
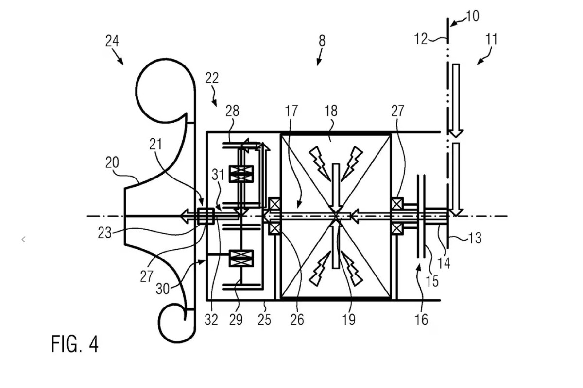
De acuerdo con nuestro colegas de Cycle World, ahora KTM quiere ir un paso más allá con su propia visión de compresor híbrido integrado en la mecánica de una motocicleta. En esta patente KTM afirma su intención de utilizar un compresor de tipo espiral, similar a los sopladores G-Lader de VW, aunque el documento indica que también podría implementarse un sobrealimentador centrífugo, como el utilizado por Kawasaki y el concepto Honda V3.

La mayor diferencia entre el compresor híbrido de KTM y el que emplean los dos motores japoneses, se encuentra en su accionamiento, ya que hace uso tanto de una conexión mecánica al cigüeñal del motor, como de un motor eléctrico. De este modo, la eficiencia de funcionamiento se eleva de manera considerable.

Las nuevas KTM 790 Duke y 790 Adventure 2026 están más cerca de la producción
“Con un pequeño embrague operado electrónicamente entre el compresor y el motor, para desacoplar el sobrealimentador cuando necesita usar energía eléctrica para girar más rápido de lo que las rpm del motor por sí solas permitirían. Al descomponer el sobrealimentador, como se muestra en las ilustraciones de la patente, la entrada del motor proviene de una cadena de transmisión (número 12 en los dibujos) conectada al eje de salida del motor”, señala la patente. En conjunto, el sistema de compresor híbrido de KTM lograría una mayor eficiencia de la mecánica en todo el rango aprovechable de revoluciones.

Pero no solo eso, ya que, además, se podrían reducir el nivel de emisiones emitidas y no sufriríamos el molesto retraso de los turbos convencionales. Por último, vale la pena aclarar que no se necesitaría una batería de gran potencia o tamaño, ya que la energía eléctrica solo se utilizaría en situaciones limitadas. Sería el propio sobrealimentador el encargado de actuar como generador de energía.