Es un paso esperado, pues la tecnología LED actual permite que las luces sean más pequeñas y de diversas formas, además de que los sensores de radar también se están volviendo más pequeños, y es fácil ver cómo el espacio libre detrás de la lente del faro podría convertirse en un espacio útil para colocar el radar.

Las ondas de radar pueden atravesar el vidrio o el plástico, característica más que adecuada para colocar el sensor en la lente de un faro, siempre que no haya un recubrimiento metalizado, requisito principal para el tipo de sensores de radar utilizados para el control crucero adaptativo y los sistemas de frenado automático, que mitigan los choques.

Indian Chieftain PowerPlus x Forever Rad: una bagger única, conócela
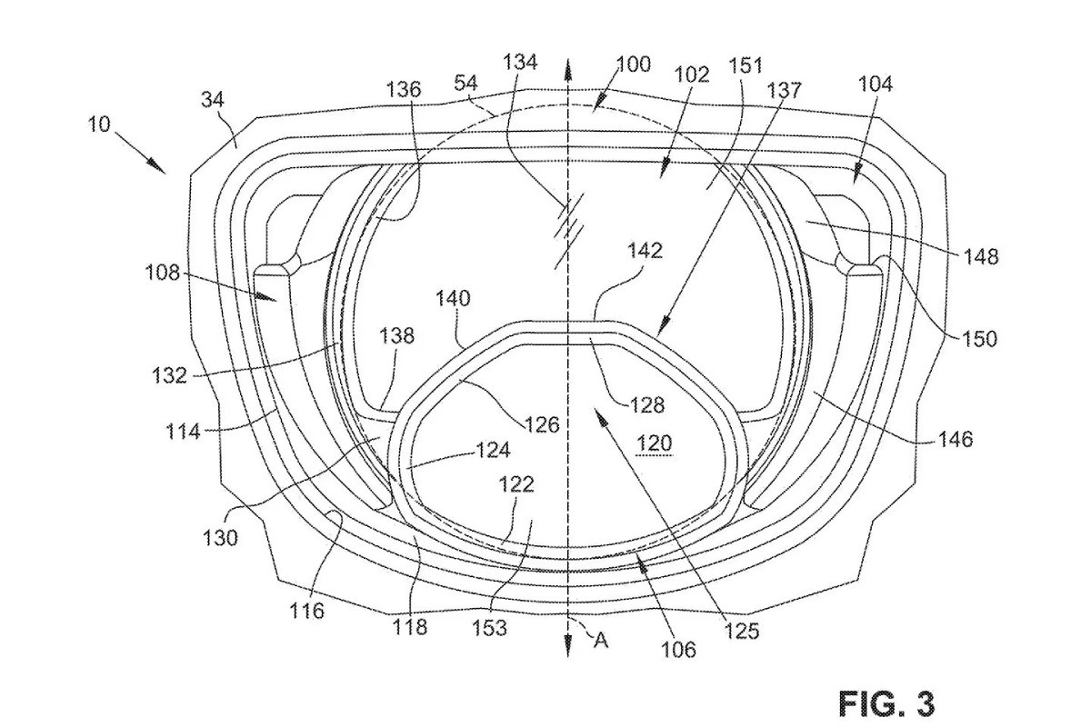
La patente de Indian muestra la nueva unidad de faros en lo que parece ser el frontal de una Chieftain, completa, con las mismas luces de marcha distintivas que flanquean la unidad de luz principal y una abertura de faro ligeramente encapuchada en el carenado. El faro, aunque tiene el mismo tamaño total y forma circular del diseño existente, se divide en dos partes, con una sección superior más grande y una parte inferior más pequeña colocada en ella.

El elemento superior, ahora con forma de luna creciente, es donde vive el faro LED. No hay detalles del reflector o el diseño del LED, pero debe contener las unidades de luces altas y bajas, ya que la sección más pequeña e inferior ahora alberga el sensor de radar.

Indian celebra 10 años de presencia en México con el lanzamiento de modelos especiales
Numerada "110" en las ilustraciones, la unidad de radar es el diseño rectangular habitual que se ve en otras motocicletas equipadas con radar, simplemente reposicionada para estar dentro de la unidad de luz. En comparación, rivales como la BMW R 18 Transcontinental y la BMW Bagger ya se ofrecen con una opción de radar frontal, utilizando un sensor similar, pero montándolo en una cápsula no tan estética sobre el faro.

La patente de la compañía para el radar orientado hacia adelante se remontan al menos a cinco años, lo que demuestra que Indian está trabajando no sólo en un control crucero adaptativo simple, sino también en variantes más complejas, diseñadas para permitir que las motos viajen en grupos escalonados sin activar advertencias innecesarias, emparejando el radar con cámaras, para monitorear la posición de la moto dentro de su carril.

Indian impone récord de ventas en México durante primer el cuatrimestre de 2025
Con mayor frecuencia, los fabricantes de motos están combinando el control crucero por radar, con la nueva generación de transmisiones semiautomáticas, lo que permite que las motos funcionen usando el control crucero en un rango de velocidad más amplio, cambiando de marcha según sea necesario, ya que aceleran y desaceleran automáticamente para mantenerse al día con el flujo de tráfico.